QR ကုဒ်
ကြှနျုပျတို့အကွောငျး
ထုတ်ကုန်များ
ကြှနျုပျတို့ကိုဆကျသှယျရနျ


ဖက်စ်
+86-574-87168065

အီးမေး

လိပ်စာ
Luotuo စက်မှုဇုန်, Zhenhai ခရိုင်, Ningbo City, တရုတ်
ပါဝါ "relay race": အစာဓာတ်အားပါ 0 င်သည့်ရောနှောဂီယာဂီယာသည်ပါဝါဂီယာအတွက် "relay captain" နှင့်တူသည်။ မော်တာစတင်ပြီးနောက်ပါဝါကို Gearbox ၏ input appy appor သို့ကူးစက်သည်။ ထို့နောက်အရွယ်အစားအမျိုးမျိုးရှိသောဂီယာအုပ်စုတစ်စု၏ Meshing မှတစ်ဆင့် "မြန်နှုန်းပြောင်းလဲမှု" ကိုရရှိခဲ့သည်။ ဥပမာအားဖြင့်, Input Shaft သည်တစ်မိနစ်လျှင်အကြိမ် 1000 အထိလှည့်ပါကဂီယာအုပ်စုထုတ်လွှင့်ပြီးနောက် output shaft သည်အမြှောက် 100 ကိုလှည့်နိုင်သည်။ ထို့နောက်ဤအားကြီးသောစွမ်းအားကိုရောနှောနေသောရိုးတံများကိုပေါင်းစပ်ထားသောရိုးတံများကိုလျင်မြန်စွာနှိုးဆွပေးရန်ခွင့်ပြုသည်။
တိကျသောမုဒ်လျော့နည်းခြင်း, လျှော့ချခြင်း - ဂီယာအုံရှိဂီယာများသည်ကျပန်းနှင့်မကိုက်ညီပါ။ RayDafon မှထုတ်လုပ်သောဂီယာများသည်တိတိကျကျတွက်ချက်ထားသည့်အရာနှင့်မကိုက်ညီသောအရာနှင့်မကိုက်ညီသောသွားသည့်သွားပုံသဏ္ဌာန်ရှိသည်။ ဤနည်းအားဖြင့်လျှပ်စစ်ဓာတ်အားထုတ်လွှင့်ခြင်း, စွမ်းအင်ဆုံးရှုံးမှုနည်းစဉ်ပွတ်တိုက်မှုအနည်းငယ်သာရှိပြီးစွမ်းအင်အများစုကိုရောနှောရန်အသုံးပြုနိုင်သည်။ ၎င်းသည် Feed Mequer တွင် "စွမ်းအင်ချွေတာသော core" ကိုတပ်ဆင်ခြင်းနှင့်တူသည်, ၎င်းသည်စွမ်းအင်ဖြုန်းတီးခြင်းမရှိဘဲပိုမိုအားကောင်းလာစေသည်။
လိုအပ်ချက်များကိုဖြည့်ဆည်းရန်ပြောင်းလွယ်ပြင်လွယ်ညှိနှိုင်းမှု - ကွဲပြားခြားနားသောအစာများနှင့်ကွဲပြားခြားနားသောအရောအနှောပမာဏကွဲပြားခြားနားသောအမြန်နှုန်းလိုအပ်သည်။ Feed Mixer Gearbox Box ၏အလှအပသည်၎င်းကိုပြောင်းလွယ်ပြင်လွယ်ချိန်ညှိနိုင်သည်။ ဂီယာအစုံပေါင်းစပ်မှုများကိုပြောင်းလဲခြင်းအားဖြင့်ကွဲပြားခြားနားသောမြန်နှုန်းအချိုးအစားကိုကွဲပြားခြားနားသောလိုအပ်ချက်များကိုဖြည့်ဆည်းရန်အောင်မြင်နိုင်သည်။ အကယ်. သင်သည်ဖောင်းပွမှုကိုဖြည့်ဆည်းပေးပြီးလျင်မြန်စွာအာရုံစိုက်လိုပါကအမြန်နှုန်းကိုတိုးမြှင့်ခြင်း, အကယ်. သင်သည်ပျက်စီးလွယ်သောကုန်ကြမ်းများကိုကိုင်တွယ်လိုပါကမြန်နှုန်းကိုလျှော့ချပြီးဖြည်းဖြည်းရောနှောပါ, ဂီယာအုံမှလုပ်နိုင်သည်။
တည်ငြိမ်သောပံ့ပိုးမှုနှင့်ကြာရှည်ခံမှု - ဂီယာအုံ၏ခန္ဓာကိုယ်သည်ဂီယာစနစ်၏ "ဂါးတော်" နှင့်ညီမျှသည်။ ခွန်အားမြင့်သောသံသတ္တုရိုင်းရုပ်ပစ္စည်း, ခိုင်မာပြတ်သားစွာခံနိုင်ရည်ရှိခြင်းသည်အတွင်းပိုင်းဂီယာများနှင့်ဝက်ဝံများကိုပံ့ပိုးပေးနိုင်သည်။ အတွင်းပိုင်းဝက်ဝံများသည်အထူးချောချောမွေ့မွေ့လည်ပတ်မှုနှင့် 0 တ်ဆင်သည်။ အစာကျွေးခြင်းများတွင်တုန်ခါမှုများကိုတုန်ခါနေသည့်တိုင်ဂီယာအုံသည်ဂီယာများနှင့်တည်ငြိမ်မှုကိုစဉ်ဆက်မပြတ်ထုတ်လုပ်နိုင်ပြီး 0 န်ဆောင်မှုကိုသက်တမ်းတိုးနိုင်သည်။
RayDafon ၏ထုတ်ကုန်ထုတ်လုပ်မှုလုပ်ငန်းစဉ်ကိုတင်းကြပ်စွာစမ်းသပ်ပြီးနှင့်အမှန်တကယ်တပ်ဆင်ပြီးနောက်အပြည့်အဝလည်ပတ်နိုင်ပါသည်။ ကျွန်ုပ်တို့၏ထုတ်ကုန်များကိုရွေးချယ်ခြင်းဆိုသည်မှာသင်သည်စိတ်ငြိမ်သက်မှုကိုရွေးချယ်သည်။
| အချိုးအစား | အင်ပွတ်ပြုလုပ် r.p.m |
ပါဝါထည့်သွင်းပါ | ထုတ်လုပ်ခြင်း | ပုံစံ | မှတ်ချက်များ | |
| kw | တင် | အိနျမ် | ||||
| 16.1: 1 | 540 | 44.7 | 60 | 11600 | g1-0314 |
|
| 19.4: 1 | 540 | 26.1 | 35 | 8600 | G1-0514 |
|
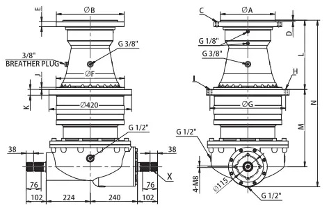
| ဂဏန်း | A | B | C | D | E | F | G | H | 1 | J | K | L | M | N | ||||||||||||||||||
| 1 | ⌀200 H7 | ⌀278 | 12-M16 EQS⌀245 | 15 | 25 | ⌀280 f7 | ⌀380 | 12-M16 |
|
26 | 30 | 353 | 300 | 785 | ||||||||||||||||||
| 2 | ⌀200 H7 | ⌀278 | 12-M16 EQS⌀245 | 15 | 25 | ⌀280 f7 | ⌀380 | 12-M16 |
|
26 | 30 | 353 | 402.5 | 857.5 | ||||||||||||||||||
| 3 | ⌀278 H8 | ⌀345 | 15-M16 EQS⌀314 | 8 | 25 | ⌀348 H8 | ⌀385 | 12-⌀17 | 2-M18 | 10.5 | 29 | 351 | 321.5 | 774.5 | ||||||||||||||||||
| 4 | ⌀278 H8 | ⌀345 | 15-M16 EQS⌀314 | 8 | 25 | ⌀348 H8 | ⌀385 | 12-⌀17 | 2-M18 | 10.5 | 29 | 351 | 394 | 847 | ||||||||||||||||||
| 5 | ⌀154.8 H8 | ⌀250 | 12-M20 * 1.5 eqs⌀205 | 12 | 39 | ⌀348 H8 | ⌀385 | 12-⌀17 | 2-M18 | 10.5 | 29 | 354.5 | 321.5 | 778 | ||||||||||||||||||
| အချိုးအစား | ထူးခြင်း r.p.m |
ပါဝါထည့်သွင်းပါ | ထုတ်လုပ်ခြင်း အိနျမ် |
input ကိုရိုးတံ | မှတ်ချက်များ | |||||||||||||||||||||||||||
| kw | တင် | |||||||||||||||||||||||||||||||
| 13.4: 1 | 540 | 85.8 | 115 | 17984 | X |
|
||||||||||||||||||||||||||
| 14.6: 1 | 540 | 70.8 | 95 | 16187 | X |
|
||||||||||||||||||||||||||
| 16.1: 1 | 540 | 63.4 | 85 | 15971 | X |
|
||||||||||||||||||||||||||
| 18.2: 1 | 540 | 44.7 | 60 | 12744 | X |
|
||||||||||||||||||||||||||
| 21.1 း 1 | 540 | 37.3 | 50 | 12312 | X |
|
||||||||||||||||||||||||||
| 25.9: 1 | 1000 | 82 | 110 | 17954 | X |
|
||||||||||||||||||||||||||
| 28.3: 1 | 1000 | 67.1 | 90 | 16051 | X |
|
||||||||||||||||||||||||||
သံမဏိ "ခန္ဓာကိုယ်" သည်စူပါတာရှည်ခံသည် - ဤဂီယာအုံသည်ခွန်အားကြီးသောသံသွန်းတိုင်ထူပြီးသေတ္တာတစ်ခုလုံးသည်တင့်ကားအခွံတစ်ခုကဲ့သို့ခိုင်မာသည်။ Silage Silay နှင့် Pelletized feed ကိုကိုင်တွယ်ခြင်းကြောင့်ဖြစ်ပေါ်လာသောအကြမ်းဖက်မှုတုန်ခါမှုဖြစ်စေသည့်အခါစိုစွတ်သောပတ်ဝန်းကျင်လား, ပြည်တွင်းဂီယာများသည် carburized နှင့်မီးတောက်များဖြစ်ပြီးသွားမျက်နှာပြင်ခိုင်မာမှုသည် HRC58 ကဲ့သို့မြင့်မားသည်။ ဝတ်ဆင်ခုခံမှုသည်သာမန်ဂီယာများထက် 3 ဆပိုမိုအားကောင်းသည်။ ၎င်းကိုဖုန်ထူခြင်းနှင့်မိုးသည်းထန်စွာရွာသွန်းသောခြံများတွင်ငါးနှစ်သို့မဟုတ်ခြောက်နှစ်အစဉ်အဆက်ကိုစဉ်ဆက်မပြတ်အသုံးပြုခဲ့ပြီးစွမ်းဆောင်ရည်သည် "အွန်လိုင်း" နှင့်ပြုပြင်မှုအရေအတွက်နည်းပါးသည်။
ပါဝါဂီယာ "သုညစွန့်ပစ်" - ဒီဇိုင်းသည်တီထွင်ဖန်တီးမှုနှင့်ပြည့်နေသည်။ ဂီယာ meshing တိကျမှန်ကန်မှုသည်ဆံပင်အဆင့်သို့ရောက်ရှိပြီးလျှပ်စစ်ထုတ်လွှင့်မှုစွမ်းဆောင်ရည်သည် 95% ထက်ကျော်လွန်သည်။ အခြားဂီယာပုံးများသည်ရောနှောနေစဉ်အတွင်း "slipping flowing" ရှိနိုင်သည်။ 5 တန်အစာ 5 တန်ရောရောရောရောရောရောရောအနေဖြင့်ကျွန်ုပ်တို့၏ Gearbox ကို သုံး. 15 မိနစ်ပိုမိုမြန်ဆန်ပြီးလျှပ်စစ်ဓာတ်အားဖြန့်ဖြူးမှု 20% ကိုသိမ်းဆည်းပြီးလယ်သမားများအားစစ်မှန်သောငွေများချွေတာနိုင်သည်။
"Universal Advantability" သည် Super Super-Super-Super-Super-Super-Friend တစ်ခုဖြစ်သည်ဖြစ်စေ, အမြန်နှုန်းအချိုးကို 2: 1 မှ 1 မှ 15 အထိလွတ်လပ်စွာချိန်ညှိနိုင်သည်။ အကန့်အသတ်ဖြင့်, တပ်ဆင်ရန်လွယ်ကူပြီးပစ္စည်းကိရိယာများကိုအဓိကအပြောင်းအလဲများပြုလုပ်ရန်မလိုအပ်ပါ။ သာမန်လုပ်သားများသည်၎င်းကိုတစ်နာရီဝက်အကြာတွင်အလျင်အမြန်သင့်တော်သောလယ်သမားများအတွက်သင့်တော်သောအချိန်တွင်တစ်နာရီဝက်အကြာတွင်ပြုလုပ်နိုင်သည်။ "အသိဉာဏ်ရှိသောအကာအကွယ်" သည်အလွန်အမင်းထောက်ထားစာနာမှုရှိပါသည်။ ဂီယာအုံသည် built-in overload protection device တွင်ပါဝင်သည်။ ရောနှောထားသောဝန်သည်အလွန်ကြီးမားသည်နှင့်တပြိုင်နက်စက်ကိုအကာအကွယ်ပေးရုံသာမကလုံခြုံမှုမတော်တဆမှုများကိုလည်းတားဆီးနိုင်သည်။ ထို့အပြင်ဖွဲ့စည်းတည်ဆောက်ပုံဆိုင်ရာဒီဇိုင်းသည်ကျိုးကြောင်းဆီလျော်သည်။ သငျသညျ box ကိုဖွင့်ခြင်းအားဖြင့်ဝက်ဝံကိုပြောင်းလဲသို့မဟုတ်ဂီယာကိုပြုပြင်နိုင်ပါတယ်။ ၎င်းသည် "ရုရှားအရုပ်" ကိုဖျက်သိမ်းခြင်းနှင့်မတူပါ။ လယ်ယာထွက်ကုန်ထုတ်လုပ်မှုသည်မရပ်တန့်နိုင်အောင်အချိန်ဖြုန်းချိန်နှင့်ပြုပြင်ထိန်းသိမ်းမှုအချိန်ကိုအလွန်တိုစေသည်။
ပြည်ပရှိဖောက်သည်တစ် ဦး အနေနှင့်ကျွန်ုပ်သည် RayDafon ကိုကျေးဇူးတင်ကြောင်းပြောချင်သည်။ သင်၏ Feed Methier Gearbox သည်အသုံးပြုရန်အလွန်လွယ်ကူသည်။ ၎င်းကိုထည့်သွင်းပြီးကတည်းကပစ္စည်းကိရိယာများသည်အလွန်ချောချောမွေ့မွေ့ပြေးနေပြီးအလုပ်လုပ်နိုင်စွမ်းသည်ယခင်ကထက်များစွာပိုမိုမြင့်မားသည်။ ဂီယာအုံကိုအစိုင်အခဲနှင့်တာရှည်ခံပစ္စည်းများဖြင့်ပြုလုပ်ထားပြီး၎င်းကိုတပ်ဆင်ရန်နှင့်ထိန်းသိမ်းရန်လွယ်ကူသည်။ ကျွန်ုပ်တို့၏ယခင်ပစ္စည်းကိရိယာများတွင်ကျွန်ုပ်တို့ရရှိခဲ့သောပြ problems နာဟောင်းများကိုဖြေရှင်းနိုင်ပါပြီ။ အထူးသဖြင့်အရောင်းအ 0 ယ် 0 န်ဆောင်မှုကိုငါချီးမွမ်းရမယ်။ ၎င်းကိုအသုံးပြုသောအခါအနည်းငယ်သောမေးခွန်းများအချို့ကြုံတွေ့ခဲ့ရသည်။ ဒါဟာအလွန်ယုံကြည်စိတ်ချရသောဖြစ်ပါတယ်။ ဒီပူးပေါင်းဆောင်ရွက်မှုအတွေ့အကြုံကတကယ်ကိုကောင်းပါတယ်။ မင်းရဲ့ထုတ်ကုန်တွေကိုငါ့ရဲ့ရွယ်တူချင်းတွေကိုအကြံပြုပြီးတဲ့နောက်အနာဂတ်မှာဆက်ပူးပေါင်းဆောင်ရွက်မှုကိုကျွန်တော်မျှော်လင့်နေပါတယ်။ ----- ဂျိမ်းကာတာ
ဟေး, RayDafon ရဲ့ဖောက်သည်ဒေးဗစ်ဂျွန်ဆင်ပဲ။ မင်းရဲ့ Feed Mixer Gearboxbox ကိုဝယ်လိုက်တယ်။ အဲဒါကိုသုံးစရာကောင်းပါတယ်။ ဒီဂီယာအုံကို install လုပ်ပြီးနောက်ကျွန်ုပ်တို့၏ Feed Methier သည်အရင်ကထက်ပိုမိုချောမွေ့စွာပြုစုပျိုးထောင်နိုင်ပြီးထိရောက်မှုတိုးတက်လာသည်။ ငါပစ္စည်းကိရိယာများကိုအနှောင့်အယှက်ပေးဖို့စိုးရိမ်ပူပန်လေ့ရှိတယ်, ဒါပေမယ့်အခုငါလုံးဝစိတ်ပူစရာမလိုပါဘူး။ အဘယ်အရာကကျွန်ုပ်ကိုတန်ဖိုးအရှိဆုံးခံစားမှုကိုဖြစ်စေသည့်အရာမှာ၎င်းသည်အလွန်တာရှည်ခံနိုင်သည့်အတွက်ပစ္စည်းသည်အစိုင်အခဲခံစားရပြီး၎င်းကိုနေ့စဉ်ထိန်းသိမ်းရန်ခက်ခဲသည်မဟုတ်ပါ။ ရက်အနည်းငယ်တိုင်းကိုပစ်ချရန်လိုအပ်သည့်ယခင်ပစ္စည်းကိရိယာများနှင့်မတူဘဲရေနံအနည်းငယ်နှင့်ရေနံအဆင့်ကိုစစ်ဆေးပါ။ နောက်ဆုံးအကြိမ်မှာဒီနေရာမှာ operating လုပ်တဲ့အခါငါသေးငယ်သောမေးခွန်းအချို့ရှိခဲ့ပါတယ်။ မင်းရဲ့အရောင်း 0 န်ဆောင်မှုကိုအီးမေးလ်တစ်စောင်ပို့ပြီးတစ်နေ့မှာပြန်ကြားချက်တစ်ခုရခဲ့တယ်။ အင်ဂျင်နီယာကအဲဒါကိုဘယ်လိုပြုပြင်ရမယ်ဆိုတာကိုသင်ပေးဖို့သိထားတဲ့ပုံဆွဲသူလည်းဆွဲထုတ်လိုက်တယ်။ ဒီဝန်ဆောင်မှုကကောင်းတယ်။ ရိုးရိုးသားသားပြောရရင်ငါအတူတူညစာစားတဲ့အခါမင်းရဲ့လုပ်ဖော်ကိုင်ဖက်တွေနဲ့ငါ့ထုတ်ကုန်တွေအကြောင်းမကြာခဏပြောတယ်။ ကောင်းသောအရာတို့ကိုလူအများသိ၏။ ငါအနာဂတ်မှာမင်းနဲ့ပူးပေါင်းဖို့ဆက်လုပ်ဖို့မျှော်လင့်ပါတယ်, မင်းရဲ့စီးပွားရေးကိုပိုပြီးလူကြိုက်များလာစေချင်ပါတယ်။
ကျွန်တော့်နာမည်မိုက်ကယ်ဘရောင်းပါ။ မင်းရဲ့ Feed Methier Gearbox Boxes တွေကိုအရင်ဝယ်လိုက်တဲ့အခါငါဟာတိတိကျကျတွန့်ဆုတ်နေခဲ့ရတယ်, ဒီဂီယာအုံ၏ဆူညံသံသည်ယခင်ကထက်များစွာသေးငယ်သည်။ အရင်ကဖွင့်လိုက်တဲ့အချိန်မှာမိုးကြိုးပစ်သလိုပဲ။ အံ့သွစရာအကောင်းဆုံးအရာမှာထိရောက်မှုဖြစ်သည်။ အသုတ်အသုတ်တစ်ခုရောရန်မိနစ် 40 ကြာလေ့ရှိသော်လည်းယခုအခါ၎င်းကို 25 မိနစ်အတွင်းပြုလုပ်နိုင်သည်။ ပြီးခဲ့သည့်အပတ်ကဂီယာပုံး၏ညွှန်ကိန်းအညွှန်းကိန်းနှစ်ကြိမ်ပေါ်လာသည်။ ပြ a နာတစ်ခုရှိမရှိငါသိချင်ခဲ့တယ်, ဒါကြောင့်မင်းရဲ့အရောင်းအ 0 ယ်လုပ်ငန်းကိုငါခေါ်တယ်။ ဖုန်းကိုပြန်ဖြေသူမိန်းကလေးကအရမ်းစိတ်ရှည်တယ်။ သူမသည်ငါ့ကိုဓာတ်ပုံအနည်းငယ်ကိုယူပြီးအာရုံခံကိရိယာမှဖုန်မှုန့်များမှသန့်ရှင်းရေးလုပ်ခွင့်ပြုသည်။ 10 မိနစ်ထက်မပိုခဲ့ဘူး။ Gearbox ကိုအစိုင်အခဲပစ္စည်းများဖြင့်ပြုလုပ်ထားသည်။ အပြင်ဘက် Shell သည်လေးလံသည်။ နောက်ဆုံးအကြိမ်, တစ် ဦး forklift မတော်တဆပွတ်တိုက်ခြင်း, သေးငယ်တဲ့အမှတ်အသားထားခဲ့ပေမယ့်အတွင်းပိုင်းအစိတ်အပိုင်းများမထိခိုက်ခဲ့ပါဘူး။ ငါလယ်သမားနှင့်အတူငါသောက်ခဲ့သည့်အခါသင်၏ထုတ်ကုန်အကြောင်းကိုဆက်ပြောသည်။ သူကနောက်လတစ်လမှာမှာထားဖို့စီစဉ်ထားတယ်။ ငါအနာဂတ်မှာသင့်ရဲ့ဆက်စပ်ပစ္စည်းအသစ်များကိုကြိုးစားနေဖို့မျှော်လင့်နေပါတယ်။
လိပ်စာ
Luotuo စက်မှုဇုန်, Zhenhai ခရိုင်, Ningbo City, တရုတ်
Tel
အီးမေး


+86-574-87168065


Luotuo စက်မှုဇုန်, Zhenhai ခရိုင်, Ningbo City, တရုတ်
မူပိုင်ခွင့်© RayDafon Technology Group Co. , Limited All Reserved Reserved ။
Links | Sitemap | RSS | XML | ကိုယ်ရေးအချက်အလက်မူဝါဒ |
